校园新闻
开云网页版页面登录 2025年中考志愿填报指南




各位中考考生及家长:
开云网页版页面登录创办于1965年,隶属福建省农业农村厅和三明市人民政府,是一所公办国家级重点中职学校、全国文明校园、首批国家中等职业教育改革发展示范学校、全国教育系统先进集体、全国特色学校、教育部首批教育信息化试点学校、国家高技能人才培训基地、全国乡村振兴人才培养优质校、福建省示范性现代职业院校、福建省“双高计划”立项建设高水平中职学校A类学校、福建省先进基层党组织、福建省工匠学院。学校地处闽中交通枢纽的沙县城区中心区域,占地389亩,建筑面积11.57万平方米。现有教职工273人,其中专任教师208人,高级职称74人,硕士研究生34人,全日制在校生4000余人,是三明市办学规模最大的中职学校。
2025年招生录取工作按上级主管部门的政策要求,实行统一网上填报志愿、分批次线上投档录取和供需批线下录取(有剩余招生指标)。培优班、“3+2”五年专和中专常规志愿与普通高中志愿同时填报。中职学校志愿线上录取是在普通高中录取结束后,再按照培优班、“3+2”五年专和中专常规志愿顺序,按照“分数优先、遵循志愿”原则,从高分到低分、按志愿顺序依次录取。
我们热忱欢迎2025年中考考生报考我校,未在“三明市中考中招信息系统”中填报我校志愿的考生将无法录取到我校就读。
为了更好地帮助大家了解我校招生计划及填报志愿相关事宜,请各位考生及家长认真阅读以下信息。
一、招生计划(三明市)
根据三明市教育局关于印发《三明市2025年高中阶段学校招生录取办法》的通知(明教中〔2025〕68号)以及三明市教育局公布的《三明市2025年中等职业学校招生指南》,现公布我校面向三明地区招生计划:



二、志愿填报指南
1.志愿填报时间
中考志愿填报时间:2025年7月11日8:00-7月14日18:00,登录三明市中考中招信息系统填报,逾期系统不再受理,请勿错过志愿填报时间。
2.填报志愿网址
考生登录2025年三明市中考中招信息系统:http://110.83.230.15:9315/iexam-sanming-web/

温馨提示:为避免成绩查询当天查分入口网络拥堵,建议大家错峰查询。
考生登录2025年三明市中考中招信息系统,进入填报页面,输入报名号、密码、验证码等信息后,进入三明市中考中招信息系统志愿填报界面。

特别提醒:我校将在志愿填报期间开展志愿填报现场咨询活动,地点放在学校报告厅,有意填报我校的考生可以到现场咨询点咨询。
三、志愿填报须知
1.志愿填报顺序
我校专业志愿填报共分三大类:
第一类:中职培优班(A002**T)
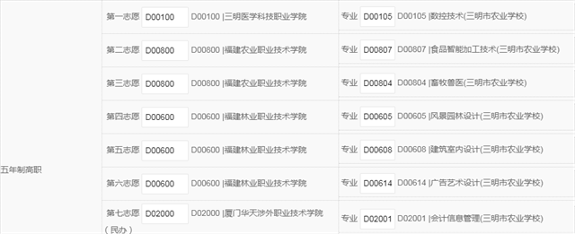
第二类:五年专志愿(D00***)
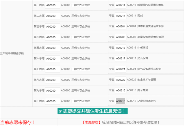
第三类:普通中职志愿(A002**)
2.志愿填报技巧
01.中职培优班
填报建议:考生可以填报三个专业,建议500分以上学生填报。三明市农业学校“培优班”志愿代码:A002**T。

02.五年制大专班
填报建议:考生可报10个平行志愿。建议中考成绩在400分以上填报。
志愿查找路径1:查找联办院校(如福建林业职业技术学院)——查找专业(如风景园林设计)——查找联办中职学校(如三明市农业学校),三项信息要一一对应。
志愿查找路径2:在专业志愿栏处直接填报“专业代码”查询,(如D00605对应的为三明农业学校与福建林业职业技术学院联办的“风景园林设计”专业)。

03.中专班
填报建议:考生可报10个平行志愿。我校设置的“中专升学班”建议300分以上填报。
志愿查找路径:查找三明市农业学校A00200——查找专业代码或专业名称(如“A00217”对应“幼儿保育专业”)。

04.供需补录
根据上级文件要求,今年如果学校有剩余指标可以进行线下供需批录取,供需批补录对象为参加我市 2025年初中毕业升学考试,在网上招生阶段均未被任何学校录取的,且补录分数不低于网上录取该专业最低分数的考生。符合以上条件的同学可以联系学校报名。
温馨提示:
1.普通高中(或中职本科“3+4”)、培优班、五年专、中专全部志愿填报完毕,核对无误后确认保存,即填报成功。
2.本次网上志愿填报,普通高中志愿与中职志愿要同时填报,错过将不再补报。
3.若想最大几率被开云(中国)录取,第1志愿要填报我校专业志愿。在常规志愿批次,如五年制大专、中专批次建议1-5志愿尽量都填报我校专业志愿(越喜欢的专业填报时越要靠前),填的志愿越多,录取机会越大。
4.特别提醒:考生在填报志愿前,应认真阅读2025年新的招生政策规定、院校招生简章、三明市中招办(职业院校类)及当地招考机构公布的志愿填报注意事项,认真听取相关专业人士指导,慎重选择填报学校和专业,确保信息准确,并妥善保管好志愿填报账号和密码。因考生本人志愿填报失误造成的后果,由考生本人承担。由于考生个人原因,发生账号和密码被盗,造成信息泄露、志愿被冒充填报或修改,责任由考生自负。
四、注意事项
1.若考生有重大疾病(或做过重大手术)、抑郁症或心理疾病的同学需提前告知学校。
2.不予录取情形:有纹身、染发、烫发及男生长发等情况不予录取。
3.2025年我校仍采取全员寄宿制管理,如有其他特殊情况无法正常在校住宿的,要提前告知学校。开学时,按照学校要求,提供相关凭证办理通学生手续。
五、咨询热线
三明市农业学校招生办电话:0598-8853068
各县(区)招生老师电话:
沙县:13507585304(胡老师) 13950949349(徐老师)
三元:18759880030(官老师) 15080578862(沈老师)
永安:15959826487(段老师) 13850897667(傅老师)
大田:13507559862(章老师) 13850829103(周老师)
尤溪:13507558511(谢老师) 15159128768(林老师)
明溪:13507557283(卢老师) 13799151516(黄老师)
清流:13950995683(江老师) 18806012821(赵老师)
宁化:13859150663(黄老师) 13950902683(罗老师)
将乐:13507559971(郑老师) 13860533408(张老师)
泰宁:13960555431(邓老师) 15959836808(蔡老师)
建宁:18859868818(梁老师) 13215900013(杨老师)
学校网址:/
学校地址:福建省三明市沙县区凤岗街道长泰南路16号
更多信息请关注 :三明市农业学校微信公众号



闽公网安备:35042702350457号